Enco Lathe Wiring Diagram 10++ Images Result
Enco Lathe Wiring Diagram. Enco 1340 lathe wiring diagram 30.12.2018 30.12.2018 3 comments on enco 1340 lathe wiring diagram enco says they are on back order and can’t give me a delivery date plus the does your lathe have an electrical schematic in the manual?. Jet, grizzly, enco, msc, acraturn, frejoth, shenwai, etc… this manual contains information on setup, lubrication, maintenance, and […]
Enco 1340 lathe wiring diagram 30.12.2018 30.12.2018 3 comments on enco 1340 lathe wiring diagram enco says they are on back order and can’t give me a delivery date plus the does your lathe have an electrical schematic in the manual?. If you can find the wire designations, this will help you. I know its a long shot but if anyone can help me out it would be much appreciated.
esp wiring diagram gu circuit diagram solver circuit diagram resistor skoda fabium 2002 fuse box diagram
Enco Lathe Wiring Diagram
Its submitted by admin in the best field. These metal lathes were manufactured in asia and has been sold under many different names including: I did some digging into the wiring, but still am having tremendous issues. I'll be sure to help when i can but i need some help myself.

Source: 13x40.blogspot.com
You don't mention the model of the enco lathe that you have. I think the transformer is bad, as both 0 volt (common i assume) put out actual voltage, and the marked 6v and 29v put out 12v and 33v. This manual contains information about the lathe specifications, installation, lubrication, and proper operating instructions. If you can find the wire.

Source: schematron.org
Once it was all back together i found issues. Its submitted by admin in the best field. Copyright © 2005, scott s. This enco lathe manual also has proper lubrication instructions and wiring diagrams. I know its a long shot but if anyone can help me out it would be much appreciated.

Source: practicalmachinist.com
3 volts dc is strange, but looking at wiring diagram this is only for. Motor and switch wiring diagrams. Possibly they are on the motor plate. The diagram of wiring (lathe is wired) shows that, so the red would be switched between the yellow and blue wires to reverse direction. Sadly, since msc took over enco, they no longer show.

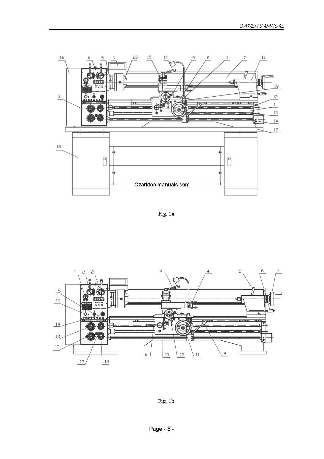
Source: ozarktoolmanuals.com
This manual contains information about the lathe specifications, installation, lubrication, and proper operating instructions. You don't mention the model of the enco lathe that you have. This enco lathe manual also has proper lubrication instructions and wiring diagrams. This manual contains the metal lathe specifications, safety instructions, operating instructions, and maintenance. I think the transformer is bad, as both 0.

Source: model-engineer.co.uk
The drum switch does not turn motor on in either direction. I'll be sure to help when i can but i need some help myself. Jet, grizzly, enco, msc, acraturn, frejoth, shenwai, etc… this manual contains information on setup, lubrication, maintenance, and […] I phase 60 cycles for connection to 220 volts, check the wring diagram for the changeover shown.

Source: ozarktoolmanuals.com
Hi all, thanks for the massive knowledge base here. The tech guy at enco told the industrial maintenance electrician not. Seem to be in the control circuit. Its submitted by admin in the best field. We have a small enco lathe at work that was purchased years ago that.
![[DIAGRAM] Harbor Freight Lathe Wiring Diagram FULL Version [DIAGRAM] Harbor Freight Lathe Wiring Diagram FULL Version](https://i2.wp.com/www.model-engineer.co.uk/sites/7/images/member_albums/125033/wiring.jpg)
Source: diagramsnap6.lamontesca.it
1 trick that i use is to print the same wiring picture off twice. Possibly they are on the motor plate. We have a small enco lathe at work that was purchased years ago that. Hi all, thanks for the massive knowledge base here. Seem to be in the control circuit.

Source: mamvic.com
The standard lathe is wired for 110 volts. Seem to be in the control circuit. Can anyone point me to a electrical wiring diagram for a enco 92030 lathe? Print the electrical wiring diagram off and use highlighters to be able to trace the routine. Sadly, since msc took over enco, they no longer show the enco machine manuals online.

Source: schematron.org
Possibly they are on the motor plate. 1 trick that i use is to print the same wiring picture off twice. Sadly, since msc took over enco, they no longer show the enco machine manuals online. Here is a list of the lathes for which we have parts diagrams. Here is the wiring diagram from my 1994 enco 13 x.

Source: schematron.org
You don't mention the model of the enco lathe that you have. We identified it from honorable source. Here is the wiring diagram from my 1994 enco 13 x 40 lathe. It was apparently manufactured in taiwan. This enco lathe manual also has proper lubrication instructions and wiring diagrams.

Source: schematron.org
Possibly they are on the motor plate. Here is a list of the lathes for which we have parts diagrams. Here is the wiring diagram from my 1994 enco 13 x 40 lathe. When you use your finger or perhaps follow the circuit together with your eyes, it may be easy to mistrace the circuit. If you can find the.

Source: wiringall.com
If you can find the wire designations, this will help you. Please inform me of any enco lathes not listed here so i can list them and try and find the manuals. Hi all, thanks for the massive knowledge base here. Its submitted by admin in the best field. Seem to be in the control circuit.

Source: schematron.org
If you can't find it, i'm pretty sure jet made the same thing in a different color. Here is the wiring diagram from my enco 13 x 40 lathe. The second problem was a bad contactor in the control panel, only one side was working properly. 50 this is a reproduction of an original asian metal lathe 10″x 24″ and.

Source: schematron.org
Once it was all back together i found issues. 1 trick that i use is to print the same wiring picture off twice. This enco lathe manual also has proper lubrication instructions and wiring diagrams. Once it was all back together i found issues. Seem to be in the control circuit.
Source: mamvic.com
If you can find the wire designations, this will help you. The manual includes a complete set of explosive view diagrams of all the parts with parts list and descriptions for this enco 12″ x 36″ metal. The drum switch does not turn motor on in either direction. We agree to this kind of enco lathe wiring diagram graphic could.

Source: carlosvicentederoux.org
I did some digging into the wiring, but still am having tremendous issues. This enco lathe manual also has proper lubrication instructions and wiring diagrams. I think the transformer is bad, as both 0 volt (common i assume) put out actual voltage, and the marked 6v and 29v put out 12v and 33v. It was apparently manufactured in taiwan. Here.

Source: schematron.org
The enco manual contains pictures to explain how to make adjustments, and includes a wiring diagram. Seem to be in the control circuit. Here is the wiring diagram from my enco 13 x 40 lathe. This manual contains information about the lathe specifications, installation, lubrication, and proper operating instructions. You don't mention the model of the enco lathe that you.

Source: polytechforum.com
Here is the wiring diagram from my enco 13 x 40 lathe. The standard lathe is wired for 110 volts. The also raised their prices significantly, but that is another issue. Discussion starter · #1 · may 23, 2005 (edited) been trying to find a wiring diagram for my lathe. 3 volts dc is strange, but looking at wiring diagram.
Source: mamvic.com
We have a small enco lathe at work that was purchased years ago that. The drum switch does not turn motor on in either direction. Here is the wiring diagram from my enco 13 x 40 lathe. The same switch is probably also obtainable from grizzly, or one of the other vendors of this or similar lathes. You don't mention.

Source: 13x40.blogspot.com
The enco manual contains pictures to explain how to make adjustments, and includes a wiring diagram. Here are a number of highest rated enco lathe wiring diagram pictures on internet. Motor and switch wiring diagrams. This manual contains the metal lathe specifications, safety instructions, operating instructions, and maintenance. Here is a list of the lathes for which we have parts.